新闻
--
新闻详情
又一POCT企业注销12款产品,退出IVD市场!
2025-09-17
131
作者: IVD资讯
来源: IVD资讯、江西药监局
8月8日,江西省药品监督管理局发布公告称,按照《医疗器械监督管理条例》的规定,根据企业申请,现注销5家企业23个产品的医疗器械注册证书。




其中,江西艾威迪生物科技有限公司注销12款IVD产品。

1、时间分辨荧光免疫层析分析仪,注册证号:赣械注准20212220194;

2、时间分辨荧光免疫层析手持分析仪,注册证号:赣械注准20212220195;

3、N末端心房利钠肽(NT-proBNP)检测试剂盒(时间分辨荧光免疫层析法),注册证号:赣械注准20212400196;

4、糖化血红蛋白(HbA1C)检测试剂盒(时间分辨荧光免疫层析法),注册证号:赣械注准20212400197;

5、心肌肌钙蛋白I(cTnI)/肌酸激酶同工酶(CK-MB)/肌红蛋白(Myo)检测试剂盒(时间分辨荧光免疫层析法),注册证号:赣械注准20212400198;

6、超敏C反应蛋白(hs-CRP+CRP)检测试剂盒(时间分辨荧光免疫层析法),注册证号:赣械注准20212400199;

7、降钙素原(PCT)检测试剂盒(时间分辨荧光免疫层析法),注册证号:赣械注准20212400230;

8、胃蛋白酶原Ⅰ(PGI)检测试剂盒(时间分辨荧光免疫层析法)注册证号:赣械注准20212400231;

9、心脏型脂肪酸结合蛋白(HFABP)检测试剂盒(时间分辨荧光免疫层析法),注册证号:赣械注准20212400232;

10、胃蛋白酶原Ⅱ(PGⅡ)检测试剂盒(时间分辨荧光免疫层析法),注册证号:赣械注准20212400233;

11、血清淀粉样蛋白A(SAA)检测试剂盒(时间分辨荧光免疫层析法),注册证号:赣械注准20212400234;

12、血清淀粉样蛋白A(SAA)/超敏C反应蛋白(hs-CRP+常规CRP)检测试剂盒(时间分辨荧光免疫层析法),注册证号:赣械注准20212400235。

2024年7月,该公司还申请注销了医疗器械生产许可证。



据查询,该公司注册的产品均已申请注销,这是彻底不干IVD了。

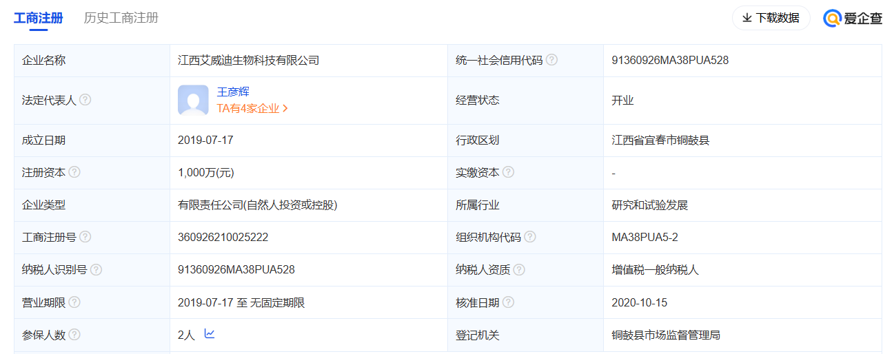
江西艾威迪生物科技有限公司成立于2019年,坐落在美丽的铜鼓工业园内,是一家专注健康产业前沿领域,与国内一流科研院所和行业领先研发单位紧密合作,以研发、生产、销售体外检测(IVD)医疗器械生产企业。
据2019年铜鼓发布,园区引进的生产免疫荧光快速定量检测卡和检测仪POCT系列为主的江西艾威迪生物科技有限公司,三年后可实现产值超亿元,税收达千万。



来源:IVD资讯、江西药监局

声明:本微信注明来源的稿件均为转载,仅用于分享,不代表平台立场,如涉及版权等问题,请尽快联系我们,我们第一时间更正,谢谢!