登录
注册
商业&政策
商业新闻
会议资讯
医疗政策
集采动态
医保基金
注册&监管
诊断技术
分子诊断
临床生化
免疫分析
流式细胞
临床微生物
病理学
NGS&质谱&色谱
POCT&居家检测
体液检测
疾病领域
传染性疾病
癌症&肿瘤
遗传生殖
过敏&自免疾病
心脑血管疾病
神经退行性疾病
呼吸系统疾病
阿尔茨海默病
女性健康
实验室服务
共建&打包
第三方检验
mNGS&tNGS
室间质评
实验室认证
原料与耗材
试剂原料
仪器零部件
实验室耗材
社区&工具
在线论坛
艾微滴学苑
知识星球
招投标平台
产品品牌馆
求职招聘
搜索
新闻
--
新闻详情
山东博科诊断,被执行442万!
2025-07-20
106
作者:
来源: 企查查
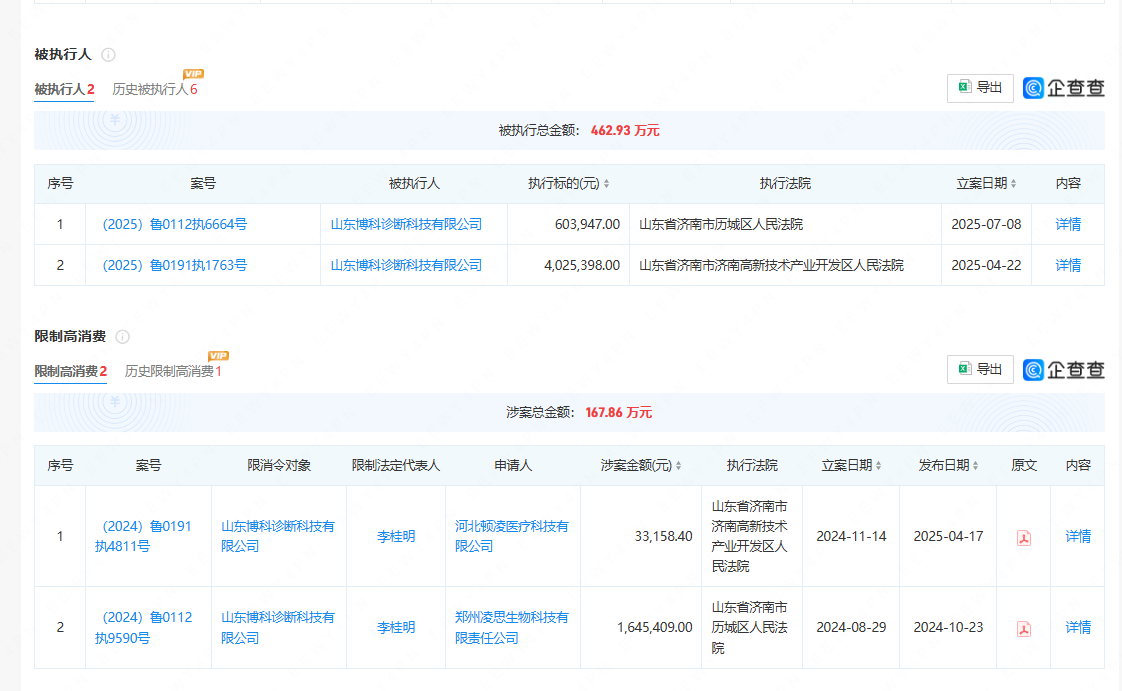
7月8日,山东省济南市历城区人民法院发布针对山东博科诊断科技有限公司发布公告,列入被执行人,执行金额603,947.00元!
此前4月,山东博科诊断曾陆续被列入失信被执行人以及限制高消费,其中4月23日被执行金额高达402万。累计被执行金额442.93万。
山东博科诊断科技有限公司成立于2015-02-15,法定代表人为李桂明,注册资本为301.6万元,为山东博科生物产业有限公司的子公司。
文章来源于企查查
声明:本微信注明来源的稿件均为转载,仅用于分享,不代表平台立场,如涉及版权等问题,请尽快联系我们,我们第一时间更正,谢谢。
热门推荐
更多
数字PCR仪注册,出新规!
01-17
173802
刚刚!又一款分子POCT结核耐药产品拿证!
12-30
103684
迈瑞医疗,签约苏州IVD企业!
12-28
96578
11月,FDA批准罗氏、贝克曼等多款新品上市!
12-25
90060
最新统计!宫颈癌HPV筛查证已获批7款!
12-10
83214
重磅收购!生工拿下IVD原料企业南京欧凯
12-11
82908
最新资讯
更多
重磅!!圣湘跨国大收购!
01-29
丹纳赫财报发布!诊断营收99亿美元,赛沛呼吸道卖了18亿!
01-29
呼吸三联检,60s出结果,新型POCT产品,即将问世!
01-29
刚刚!又一起收购!康圣环球拿下真固生物!
01-28
最新汇总!伯杰、圣湘、卓诚等30余家IVD企业可提供尼帕病毒检测试剂盒!
01-28
重磅!独家代理!赛默飞“拿下”索灵快速分子POCT系统
01-28
国家疾控局发布强基方案!社区建发热诊室,配快检设备!
01-28
我国尼帕病毒检测能力如何?张文宏:二代测序检测足够应对
01-27
重磅!博尔诚肝癌甲基化新品上市!行业首发,高发四癌全品类方案!
01-27
逆势!凝血企业艾科达,获数千万元B轮投资!
01-27