登录
注册
商业&政策
商业新闻
会议资讯
医疗政策
集采动态
医保基金
注册&监管
诊断技术
分子诊断
临床生化
免疫分析
流式细胞
临床微生物
病理学
NGS&质谱&色谱
POCT&居家检测
体液检测
疾病领域
传染性疾病
癌症&肿瘤
遗传生殖
过敏&自免疾病
心脑血管疾病
神经退行性疾病
呼吸系统疾病
阿尔茨海默病
女性健康
实验室服务
共建&打包
第三方检验
mNGS&tNGS
室间质评
实验室认证
原料与耗材
试剂原料
仪器零部件
实验室耗材
社区&工具
在线论坛
艾微滴学苑
知识星球
招投标平台
产品品牌馆
求职招聘
搜索
新闻
--
新闻详情
苏州长光华医第三大股东,退出!
2025-08-02
98
作者: 锁炎
来源: 企查查、长光华医官网
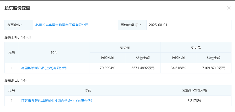
8月1日,据企查查数据显示,江苏疌泉毅达战新创业投资合伙企业(有限合伙)退出苏州长光华医生物医学工程有限公司股东,退出前持股比例为5.2173%,江苏疌泉毅达是长光华医第三大股东,也是非梅里埃系第一大股东,此次江苏疌泉毅达的退出,梅里埃对长光华医的持股将达到93.6991%!
苏州长光华医生物医学工程有限公司是一家专注于体外诊断产品(IVD)集研发、生产、销售及售后服务为一体的国家高新技术企业,公司由中科院长春光学精密机械与物理研究所、中科院苏州生物医学工程技术研究所和自然人股东共同创立。主要产品为居于国内领先水平的管式全自动化学发光免疫分析系统及配套试剂和全自动血型分析仪等。
作为国内首家应用吖啶酯化学发光免疫分析系统的厂家,专注产品研发十五年,实现了2013年国产吖啶酯化学发光系统上市,2015年率先实现传染病五项全定量检测,2021年实现首家国产BRAHMS PCT上市等多项第一。公司成立至今坚持科技创新,先后承担5项国家和省市级科技成果转化项目,总计获得114项医疗器械注册证(备案证)。累计获得356项授权专利,其中发明专利94项;化学发光产品涵盖肿瘤、传染病、甲状腺、心肌、炎症、性激素、肝纤维化等多项目类别,其中以BRAHMS PCT试剂和AE-480Plus仪器为代表的产品已经赶超国际先进水平。
2018年底,法国生物梅里埃成为公司控股股东,开始了从研发到生产,从市场到销售的全方位提升。
文章来源:企查查、长光华医官网
声明:本微信注明来源的稿件均为转载,仅用于分享,不代表平台立场,如涉及版权等问题,请尽快联系我们,我们第一时间更正,谢谢。
热门推荐
更多
数字PCR仪注册,出新规!
01-17
212084
刚刚!又一款分子POCT结核耐药产品拿证!
12-30
192846
5000万!公开招标,呼吸道抗原试剂大订单!
01-19
178464
迈瑞医疗,签约苏州IVD企业!
12-28
150224
2025并购浪潮下,“诊断+”模式成行业整合主线!
01-18
149596
胶体金市场:预测2030年全球市场规模将达860亿元!
01-18
148958
最新资讯
更多
CACLP,最火的地方出现了!
03-22
优利特,又双叒叕火出圈了!!
03-21
重磅解读 | 细胞因子检测正式写入抑郁症诊疗共识!
03-21
进入13万个社区&诊所!Diasorin超快分子POCT签下战略分销!
03-20
刚刚!FDA批准两款分子POCT产品!
03-20
重磅!首个分子诊断流水线专家共识发布!
03-20
全球首例:科学家成功筛选出能捕获阿尔茨海默病血液标志物的DNA适配体
03-20
牛!真迈生物正式交付第1000台测序仪!
03-19
资本强势逼宫POCT企业:要么换人,要么卖公司!
03-19
重磅!明熙领投!脑机接口企业穹顶科技完成A+轮亿元融资!
03-18