登录
注册
商业&政策
商业新闻
会议资讯
医疗政策
集采动态
医保基金
注册&监管
诊断技术
分子诊断
临床生化
免疫分析
流式细胞
临床微生物
病理学
NGS&质谱&色谱
POCT&居家检测
体液检测
疾病领域
传染性疾病
癌症&肿瘤
遗传生殖
过敏&自免疾病
心脑血管疾病
神经退行性疾病
呼吸系统疾病
阿尔茨海默病
女性健康
实验室服务
共建&打包
第三方检验
mNGS&tNGS
室间质评
实验室认证
原料与耗材
试剂原料
仪器零部件
实验室耗材
社区&工具
在线论坛
艾微滴学苑
知识星球
招投标平台
产品品牌馆
求职招聘
搜索
新闻
--
新闻详情
曾融资数十亿!肿瘤检测明星企业,被执行307万!
2025-10-24
264
作者: 锁炎
来源: 企查查,裕策生物
近日,企查查数据显示,深圳裕策生物科技有限公司
被执行307万
,
而从今年2月份开始,裕策生物就陆续陷入劳动纠纷、股权冻结等一系列麻烦事当中,此次再次被执行307万,或让
裕策生物雪上加霜。
裕策生物成立于2015年,是一家肿瘤精准免疫治疗基因检测和大数据分析平台,提供基因检测和分析服务能够指导和辅助疾病诊断和用药治疗。推出基因检测产YuceOne? Plus和YuceOne? ICIs。已经与20多家医疗机构达成合作,为其提供免疫治疗的基因检测与解读服务。
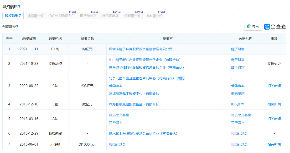
公开信息显示,深圳裕策生物自成立以来
已完成7轮融资,
其中天使轮由贝壳社基金投资1000万,战略融资和A轮融资未公布具体金额,但B轮达到了数亿元,C轮约为3亿元,最近一次融资未2021年11月C+轮,约数亿元!
裕策生物算是做基因检测产品中比较有竞争力,而且很有特色的一家公司,其产品范围更是覆盖临床检测服务、药物研发服务和科研服务三大板块,相比常规检验服务公司而言,裕策生物的优势不言而喻,但在大环境不好的情况下,依旧面临生存挑战!
新闻来源:企查查,裕策生物
声明:本微信注明来源的稿件均为转载,仅用于分享,不代表平台立场,如涉及版权等问题,请尽快联系我们,我们第一时间更正。
热门推荐
更多
数字PCR仪注册,出新规!
01-17
212084
刚刚!又一款分子POCT结核耐药产品拿证!
12-30
192846
5000万!公开招标,呼吸道抗原试剂大订单!
01-19
178464
迈瑞医疗,签约苏州IVD企业!
12-28
150224
2025并购浪潮下,“诊断+”模式成行业整合主线!
01-18
149596
胶体金市场:预测2030年全球市场规模将达860亿元!
01-18
148958
最新资讯
更多
CACLP,最火的地方出现了!
03-22
优利特,又双叒叕火出圈了!!
03-21
重磅解读 | 细胞因子检测正式写入抑郁症诊疗共识!
03-21
进入13万个社区&诊所!Diasorin超快分子POCT签下战略分销!
03-20
刚刚!FDA批准两款分子POCT产品!
03-20
重磅!首个分子诊断流水线专家共识发布!
03-20
全球首例:科学家成功筛选出能捕获阿尔茨海默病血液标志物的DNA适配体
03-20
牛!真迈生物正式交付第1000台测序仪!
03-19
资本强势逼宫POCT企业:要么换人,要么卖公司!
03-19
重磅!明熙领投!脑机接口企业穹顶科技完成A+轮亿元融资!
03-18